Основы
2 - Что такое пульсация?
Проблем, связанных с мембранными насосами, можно избежать, если понимать принципы пульсаций. Давайте рассмотрим, почему разряд сигнала принимает конкретную форму.
Мембранные насосы обычно управляются пружинной системой возврата или функцией привода коленчатого вала. Здесь мы объясним пульсацию с использованием этой системы в качестве примера.
Двигатели, как правило, используются в мембранных насосах для привода. Возвратно-поступательное движение поршня создается за счет высокой скорости вращения двигателя, которая передается на вращающийся вал через редуктор, а также с использованием эксцентриситета между эксцентриковым и вращающимся валами.
В случае, когда центр вращения вала и эксцентрический кулачок выравниваются, эксцентриситет равен нулю. В этом случае эксцентриковый кулачок никак не влияет на движение поршня, и поршень не двигается вообще. Рассмотрим случаи, когда центр вращающегося вала и эксцентрикового кулачка не выровнены.
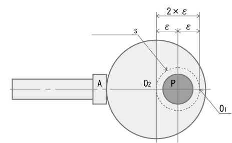
В этом случае эксцентриковый кулачок с центром O движется вдоль окружности S, когда вращающийся вал поворачивается.
А это значит, что эксцентриковый кулачок вращается, пока сдвигается наружу.
Глядя на рисунки, можно увидеть, что поршень движется вперед-назад, преодолевая эквивалентные расстояния между точками О1 и О2.
В частности, возвратно-поступательное движение поршня — 2 х ε, следовательно, эксцентриситет двойной. Например, если эксцентриситет 4 мм, расстояние возвратно-поступательного движения (длина хода) будет 8 мм.
При этом следует отметить, что, так как точка О движется вдоль окружности S, скорость, при которой длина хода достигает своего максимального значения, не является постоянной величиной.
|
|
Насос Smoothflow фирмы "TACMINA" является единственным мембранным насосом, способным к непрерывной дозированной подаче без пульсации. Дозированное перекачивание жидкости происходит с высокой точностью и без пульсаций. Узнать больше >> |


